广州地标建筑广州圆大厦,再一次被推到聚光灯下。
阿里拍卖平台表露的信息娇傲,11月14日10点,广东兴业外洋实业(000159)有限公司重整投资权柄因无东谈主竞拍而流拍,拍品通盘东谈主为广东兴业外洋实业有限公司,拍卖原因系歇业重整。
其中,广州圆大厦,恰是该主义物的中枢资产。该次拍卖共迷惑了29755次围不雅,544东谈主竖立教唆。
围不雅不少,出手者难寻。这栋地标在成本眼前的含金量,也因此被从容地揭开。
广州圆大厦位于广州市荔湾区白鹅潭商务区,以其特有的造型和颜色,成为广州的标志性建筑之一。整栋建筑共有33层,高138米,外圆直径达144.6米,内圆直径为47米,造价展望高达10亿元。
阿里拍卖平台表露的信息娇傲,广州圆大厦拍卖的起拍价为13.6亿元,评估价16.99亿元。该项指标通盘者广东兴业外洋实业有限公司建造于2004年6月22日,注册成本5000万元,法定代表东谈主郑楚英,企业注册地址位于广州市荔湾区荷景路33号自编2栋305房。
天眼查贵府娇傲,广东兴业外洋实业有限公司的鼓励结构中,鸿达兴业集团有限公司(下称“鸿达兴业”)占有96%的股份,广东东沙物流有限公司握股4%。
而在成本纠葛除外,广州圆大厦的起点是另一套叙事。
广州圆大厦的野心由意大利米兰理工大学讲解Joseph DiPasquale主导。在摄取媒体采访时,DiPasquale默示,野心这座大厦的初志是要创造一座敷裕中国文化内涵的地标建筑,而非简便师法西方的摩天大楼。野心灵感开始于东方文化,将大厦体式野心为玉璧的概括,意图与珠江中的倒影变成呼应,呈现出“双环玉璧”的时势。此外,外形与数字“8”相契合,在中国文化中有着激烈的标识酷爱。
尽管如斯,广州圆的外不雅激励了不少争议。在2017年第八届中国十大丑陋建筑评比中,广州圆大厦位列榜首,成为公众推敲的焦点。
而真确考试这栋田主义,并不是审好意思争议,而是自后接连娇傲的财务缺口。
2022年4月13日,广州农商银行在中拍平台发布公告,拟转让17项优质债权资产,债权金额所有88.93亿元,触及鸿达兴业系列、长鸿系列、珠海中珠、吉林交投等公司。其中,鸿达兴业系列债权金额约55.89亿。鸿达兴业系列债权借款东谈主包括鸿达兴业集团有限公司偏激下属公司共9个主体。界限2022年2月20日,鸿达兴业系列不良授信本金余额49.6亿元、欠息6.07亿元。
债务压力飞速外溢,公司的成本之路也随之干预下一个阶段。
鸿达兴业于2004年在深交所上市。2024年3月17日,鸿达兴业公告,公司股票和可诊疗公司债券已被深交所决定闭幕上市,并于已往3月18日被深交所摘牌。
鸿达兴业的实控东谈主为周奕丰,是又名潮汕商东谈主。鸿达兴业2021年年报先容称,周奕丰担任广东省潮商会会长、清华大学 EMBA 广东同学会会长等社会职位。1999年起,任鸿达兴业集团有限公司董事长;2004年起,任广东塑料交游所股份有限公司董事长;2012年3月起,任鸿达兴业股份(603928)有限公司董事长。
而就在企业疆土不休彭胀的那些年,周奕丰的个东谈主轨迹也在偷偷发生变化。
2019年10月,《2009年胡润富豪榜》揭晓,周奕丰以90亿元东谈主民币钞票位列第444名。2020年2月,周奕丰以130亿元东谈主民币钞票名列《202胡润宇宙富豪榜》第1607位。
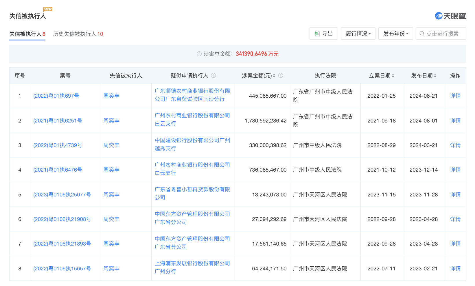
2023年12月14日,鸿达兴业公告称,公司实际欺压东谈主周奕丰呈报,收到中国证监会下发的《立案奉告书》,因其涉嫌信息表露造孽违纪,中国证监会决定对其立案。天眼查贵府娇傲,周奕丰现在为失信被实施东谈主,被实施金额约为34亿元。
而跟着流拍成为最新的注脚皇冠现金体育官网app官网,广州圆大厦也只可暂时伫立在江边,恭候下一位情景接办它的东谈主。
